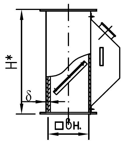
Гаситель скорости потока продукта тип 2

Гаситель предназначен для вертикальных участков самотечных продуктопроводов. Самозачищающийся гаситель. Оснащён пробоотборником.

Исполнение:

На фланцах:
200Х200 б=2.0 мм маркировка ГС2-Ф-200х200 марка по нормали -----
250Х250 б=2.0 мм маркировка ГС2-Ф-250х250 марка по нормали -----
300Х300 б=2.0 мм маркировка ГС2-Ф-300х300 марка по нормали -----